Detailzeichnungen Vorbaurollladen POL extrudiert
Inhaltsverzeichnis:
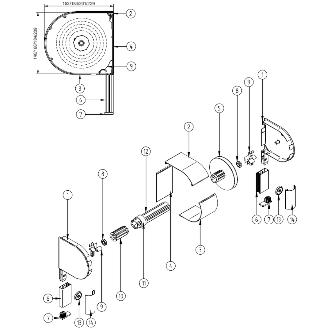
Vorbaurollladen POL extrudiert Explosionszeichnung
Explosionszeichnung Vorbaurollladen POL extrudiert
- Blendklappe
- Kasten oben
- Kasten unten
- Gurtscheibe für Kasten
- Einzelführungsschiene
- Alu-Führungsschienenendkappe
- Kugellager
- Einlauftrichter des Profils
- Walzenkapsel für Achtkant-Stahlwelle
- Adapterring
- Achtkant-Stahlwelle
Vorbaurollladen POL extrudiert 140mm
Vorbaurollladen POL extrudiert 168mm
Vorbaurollladen POL extrudiert 184mm
Vorbaurollladen POL extrudiert 209mm
Vorbaurollladen POL extrudiert mit Insektenschutz
Vorbaurollladen POL extrudiert 168mm mit Insektenschutz
Vorbaurollladen POL extrudiert 184mm mit Insektenschutz
Vorbaurollladen POL extrudiert 209mm mit Insektenschutz
Vorbaurollladen POL extrudiert Einzelteile
Führungsschienen für Vorbaurollladen POL extrudiert
Vorbaurollladen Führungsschiene PP 53mm
Vorbaurollladen Führungsschiene PP 66mm
Vorbaurollladen Führungsschiene PK 53mm mit Winkel
Vorbaurollladen Führungsschiene PPDM 53mm Insektenschutz
Vorbaurollladen Führungsschiene PPD 79mm doppelt
Vorbaurollladen Führungsschiene PPDM 80mm Insektenschutz doppelt
Führungsschienen Endkappen für Vorbaurollladen POL extrudiert
Vorbaurollladen Führungsschiene Endkappen PP 53mm P 53mm
Vorbaurollladen Führungsschiene Endkappen PP 66mm P 66mm
Vorbaurollladen Führungsschiene Endkappen PPD 79mm P 79mm
Vorbaurollladen Führungsschiene Endkappen PPDM 53mm P 53mm
Führungsschienen Abdeckungen für Vorbaurollladen
Vorbaurollladen Führungsschiene Abdeckung N-PPDO 53mm rund Detail
Vorbaurollladen Führungsschiene Abdeckung rund doppelt Detail
Vorbaurollladen Führungsschiene Abstandsleiste Detail
Vorbaurollladen Führungsschiene Abdeckung N-PPDO 53mm rund
Vorbaurollladen Führungsschiene Abdeckung rund doppelt
Vorbaurollladen Führungsschiene Abstandsleiste
Vorbaurollladen Führungsschiene Schnapperplatten Montage
Vorbaurollladen Führungsschiene Doppel Schnapperplatten Montage
Führungsschienen Montagebohrungen für Vorbaurollladen
Vorbaurollladen Führungsschiene Montagebohrung Typ A
Vorbaurollladen Führungsschiene Montagebohrung Typ B
Vorbaurollladen Führungsschiene Montagebohrung Typ C
Rollladenpanzer Lamellen (Profile)
Rollladenprofil PA 39mm (Alu)
Rollladenprofil PA 45mm (Alu)
Rollladenprofil PA 52mm (Alu)
Vorbaurollladen Endleisten (Abschlussleisten)
Rollladenpanzer Endleiste LD 35mm Mini
Rollladenpanzer Endleiste LD 37mm
Vorbaurollladen Antriebsbohrungen
Vorbaurollladen Antriebsbohrungen Gurtausgang
Vorbaurollladen Antrieb Ausgang Typ A
Vorbaurollladen Antrieb Ausgang Typ A Schema
Vorbaurollladen Antrieb Ausgang Typ B
Vorbaurollladen Antrieb Ausgang Typ B Schema
Vorbaurollladen Antrieb Ausgang Typ C
Vorbaurollladen Antrieb Ausgang Typ C Schema
Vorbaurollladen Antriebsbohrungen Kurbelausgang
Vorbaurollladen Antrieb Ausgang Typ B
Vorbaurollladen Antriebsbohrungen mit Nothandkurbel
Vorbaurollladen Antrieb Ausgang Typ B
Vorbaurollladen Montagearten
Vorbaurollladen Führungsschienen POL extrudiert - Einbaubeispiel 1:
Vorbaurollladen Führungsschiene PP 53mm Montage Typ A
Vorbaurollladen Führungsschiene PK 53mm Montage Typ C
Vorbaurollladen Führungsschienen POL extrudiert- Einbaubeispiel 2:
Vorbaurollladen Führungsschiene PP 53mm PPD 79mm Montage Typ B
Vorbaurollladen Führungsschiene PP 53mm Montage Typ B
Vorbaurollladen Führungsschiene PPDM 53mm PPDM 80mm Montage Typ B
Weiter zur Produktseite Vorbaurollladen POL extrudiert
Kostenlose Lieferung
Ab einer Bestellung von 10 Fenstern deutschlandweit!
Jetzt Angebot für Vorbaurollladen anfordern
Das könnte Sie auch interessieren:
Vorbaurollladen POS Rundkasten
Vorbaurollladen POS mit Rundkasten für ein schwungvolles und abgerundetes Design.
Detailzeichnungen Vorbaurollladen POS
Vorbaurollladen PIT Unterputz
Vorbaurollladen PIT mit Unterputz-System für ein harmonisches Gesamtbild.
Detailzeichnungen Vorbaurollladen PIT