Detailzeichnungen Holzfenster Softline-78

Inhaltsverzeichnis:

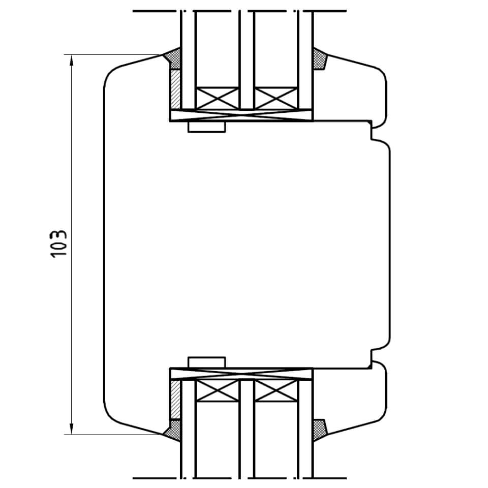
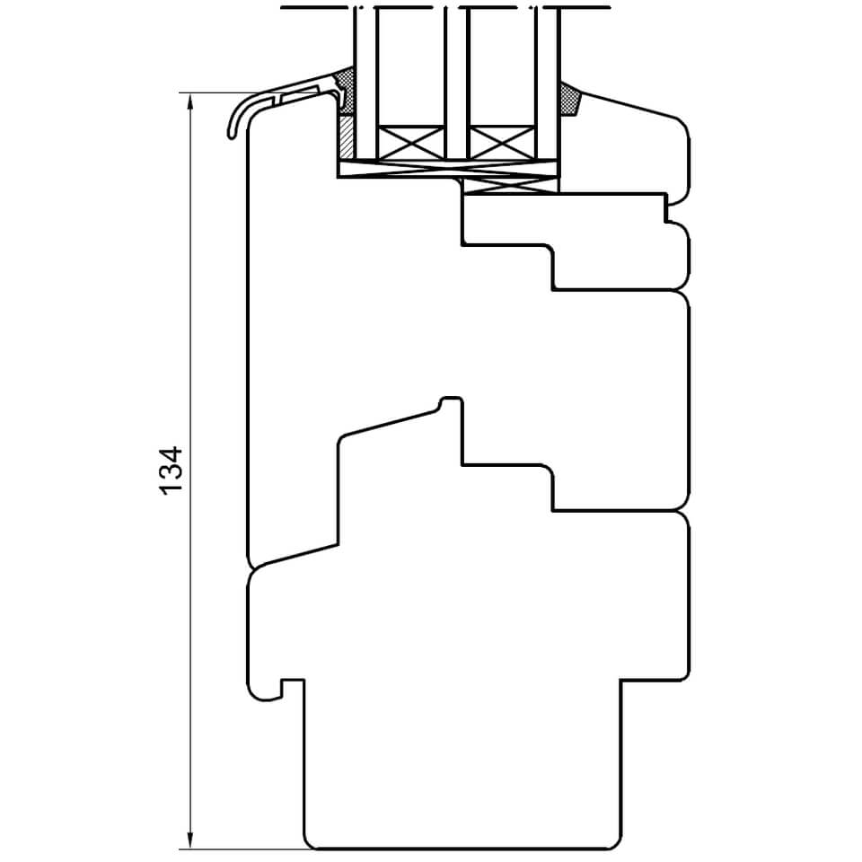
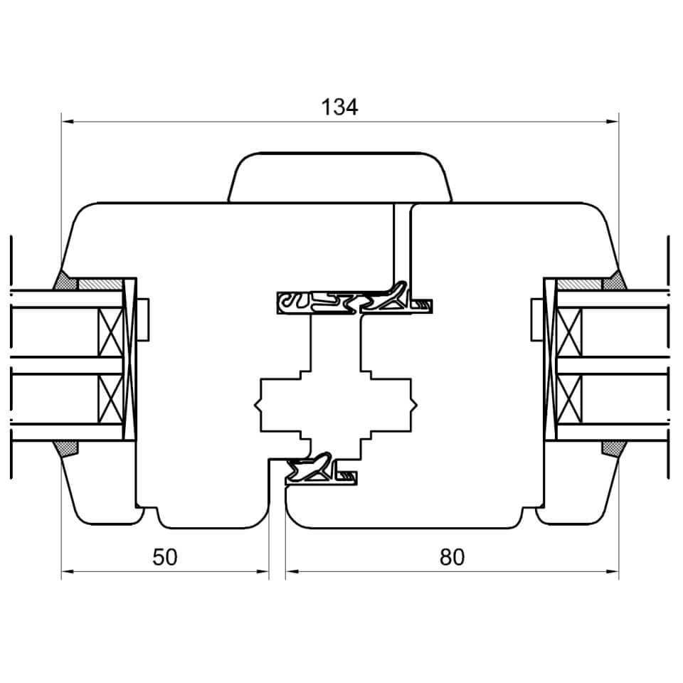
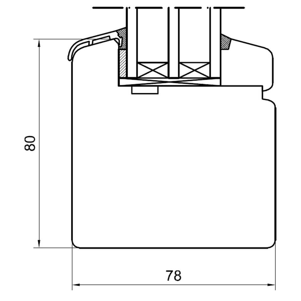
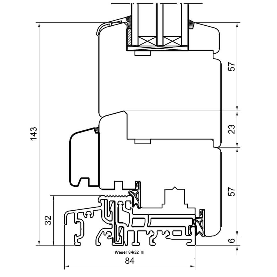
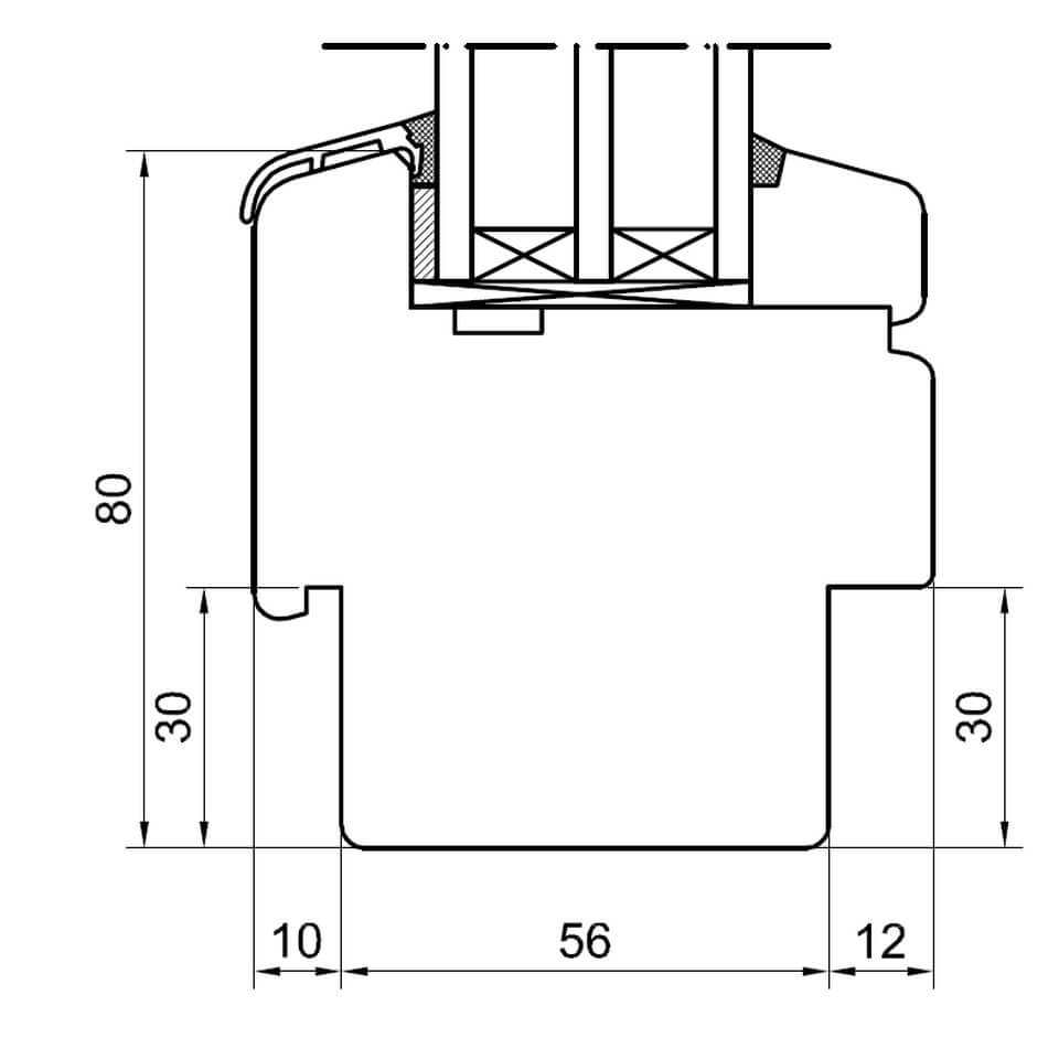
Holzfensterprofil Softline 78 Querschnitte

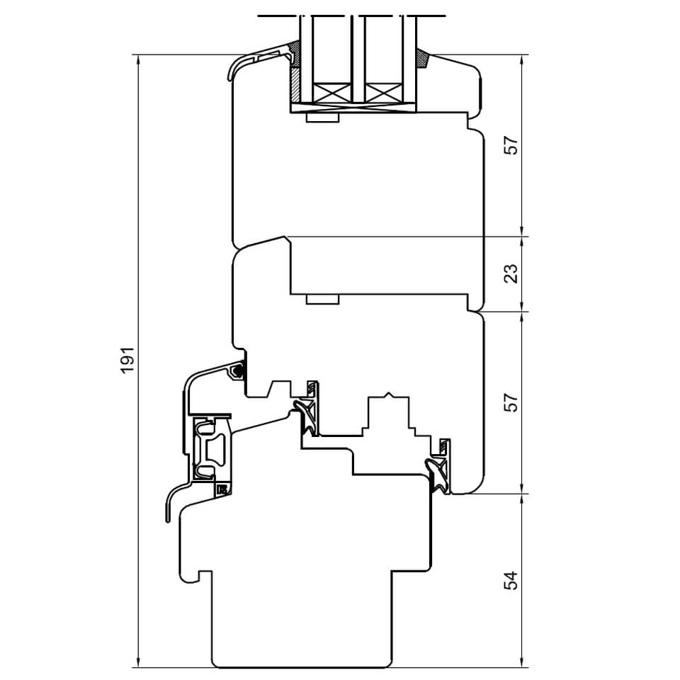
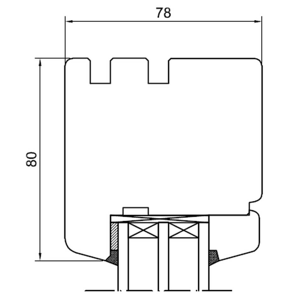
Drutex Softline 78 Festverglasung oben

Softline 78 Festverglasung oben

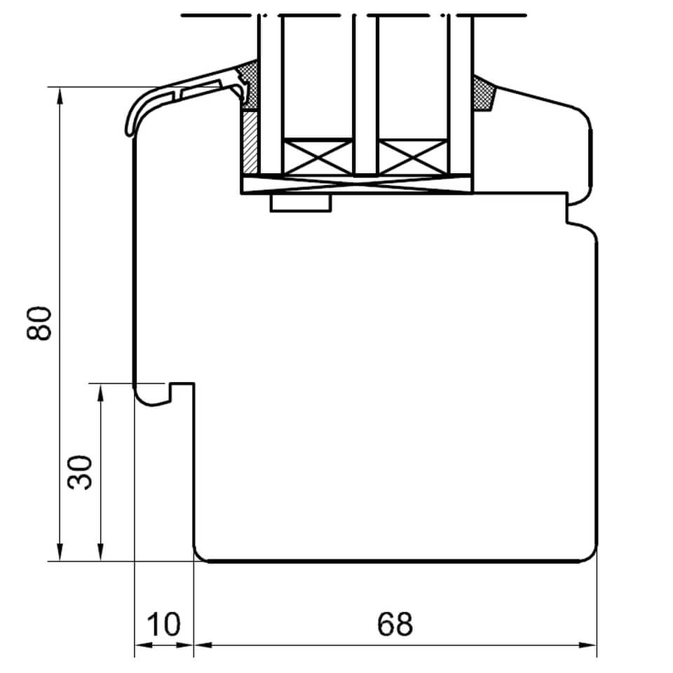
Drutex Softline 78 Festverglasung unten

Softline 78 Festverglasung unten

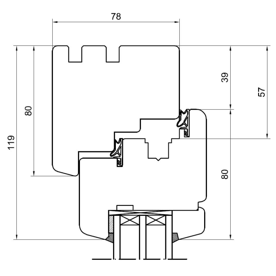
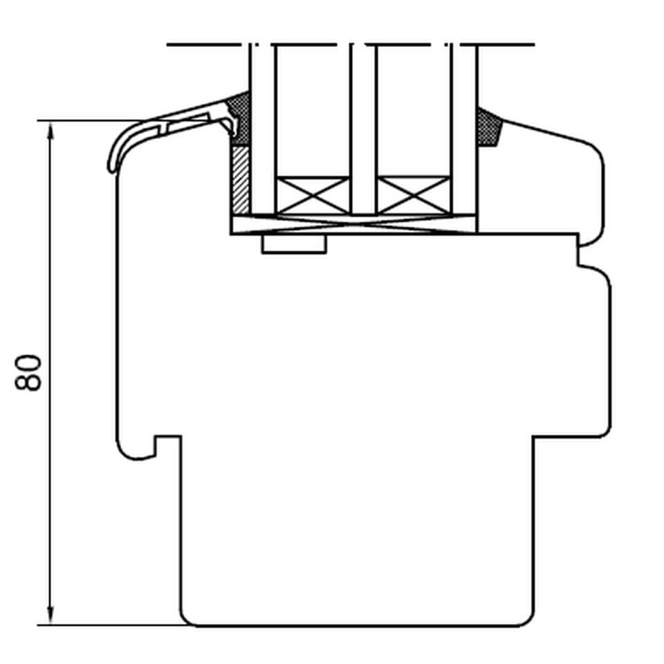
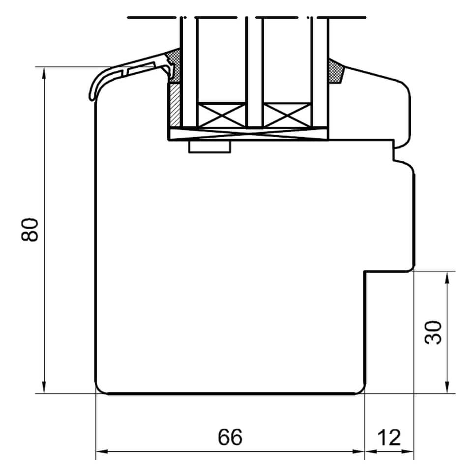
Drutex Softline 78 Festverglasung angeglichen an Flügel

Softline 78 Festverglasung angeglichen an Türflügel

Drutex Softline 78 Fenster mit Wetterschenkel

Softline 78 Fenster mit Wetterschenkel

Drutex Softline 78 Fenster mit Wetterschenkel Retro

Softline 78 Fenster mit Wetterschenkel Retro

Drutex Softline 78 Fenster mit Wetterschenkel Donau

Softline 78 Fenster mit Wetterschenkel Donau

Drutex Softline 78 Fenster oben

Softline 78 Fenster oben

Holzfenster Softline 78 Falz (Fensterbankfräsung)

Drutex Softline 78 Festverglasung mit Standard Falz beidseitig

Softline 78 Festverglasung mit Standard Falz beidseitig

Drutex Softline 78 Festverglasung ohne Falz

Softline 78 Festverglasung ohne Falz

Drutex Softline 78 Festverglasung mit Aussenfalz

Softline 78 Festverglasung mit Aussenfalz

Drutex Softline 78 Festverglasung mit Innenfalz

Softline 78 Festverglasung mit Innenfalz

Drutex Softline 78 Festverglasung mit Falz und Federprofil

Softline 78 Festverglasung mit Falz und Federprofil

Holzfenster Softline 78 mehrflügelig mit vertikalem Pfosten oder Stulp

Drutex Softline 78 Fenster Dreh-Kipp + Dreh-Kipp

Softline 78 Fenster 2-flg. Dreh-Kipp + Dreh-Kipp

Drutex Softline 78 2-flg. Fenster Dreh + Dreh-Kipp (Stulp)

Drutex Softline 78 2-flg. Fenster Dreh + Dreh-Kipp (Stulp)

Holzfenster Softline 78 Ober-/Unterlicht mit horizontalem Pfosten Festverglasung / Dreh-Kipp

Drutex Softline 78 Fenster Oberlicht Festverglasung Dreh-Kipp

Softline 78 Fenster Oberlicht Festverglasung + Dreh-Kipp

Drutex Softline 78 Fenster Oberlicht Dreh-Kipp + Dreh-Kipp

Softline 78 Fenster Oberlicht Dreh-Kipp + Dreh-Kipp

Holzfenster Softline 78 Pfosten-Unterteilungen (Kämpfer)

Drutex Softline 78 Pfosten Glasteilende Kämpfer-Sprosse 80mm

Softline 78 Kämpfer-Sprosse 80mm (Standard)

Drutex Softline 78 Pfosten Glasteilende Kämpfer-Sprosse 105mm

Softline 78 Kämpfer-Sprosse 105mm

Drutex Softline 78 Pfosten Glasteilende Kämpfer-Sprosse 110mm

Softline 78 Kämpfer-Sprosse 110mm

Drutex Softline 78 Pfosten Glasteilende Kämpfer-Sprosse 130mm

Softline 78 Kämpfer-Sprosse 130mm

Holz Softline 78 Balkontür

Drutex Softline 78 Balkontür mit Blendrahmen

Softline 78 Balkontür mit Blendrahmen

Drutex Softline 78 Balkontür mit Schwelle 32mm

Softline 78 Balkontür mit Schwelle 32mm

Zusatzprofile für Softline-78 Querschnitte

Holzfenster Sprossenarten - Softline-78

Innenliegende SZR Sprossen / Helima Sprossen

Drutex Softline SZR innenliegende Sprosse 8mm

Innenliegende Sprosse 8mm (SZR)

Drutex Softline SZR innenliegende Sprosse 18mm

Innenliegende Sprosse 18mm (SZR)

Drutex Softline SZR innenliegende Sprosse 26mm

Innenliegende Sprosse 26mm (SZR)

Drutex Softline SZR innenliegende Sprosse 45mm

Innenliegende Sprosse 45mm (SZR)

Aufgesetzte / Aufgeklebte Sprossen

Drutex Softline aufliegende Sprossen Wiener-Sprosse 26mm

Holz Wiener Sprossen (aufgesetzt) 26mm

Drutex Softline aufliegende Sprossen Wiener-Sprosse 36mm

Holz Wiener Sprossen (aufgesetzt) 36mm

Glasteilende Sprossen - Kämpfer

Drutex Softline 78 Pfosten Glasteilende Kämpfer-Sprosse 80mm

Softline 78 Kämpfer-Sprosse 80mm (Standard)

Drutex Softline 78 Pfosten Glasteilende Kämpfer-Sprosse 105mm

Softline 78 Kämpfer-Sprosse 105mm

Drutex Softline 78 Pfosten Glasteilende Kämpfer-Sprosse 110mm

Softline 78 Kämpfer-Sprosse 110mm

Drutex Softline 78 Pfosten Glasteilende Kämpfer-Sprosse 130mm

Softline 78 Kämpfer-Sprosse 130mm

Holz Zierprofile und -leisten

Drutex Zierprofil Holz EKP1

EKP1 - Zierprofil Holz

Drutex Zierprofil Kopfstück Holz

Zierprofil Kopfstück Holz

Drutex Zierprofil Fussstück Holz

Zierprofil Fußstück Holz

Drutex Zierleiste Schlagleiste LP201

LP 201 - Zierleiste Schlagleiste

Drutex Zierleiste Kämpferleiste LS 101

LS 101 - Zierleiste Kämpferleiste

Holzfenster Rahmenverbreiterung

Drutex Softline 78 Rahmenverbreiterung 40mm PR 78040 (PR040)

PR78040 - Softline 78 Rahmenverbreiterung 40mm (PR040)

Drutex Softline 78 Rahmenverbreiterung 80mm PR 78080 (PR080)

PR78080 - Softline 78 Rahmenverbreiterung 80mm (PR080)

Drutex Softline 78 Rahmenverbreiterung 110mm PR 78110 (PR110)

PR78110 - Softline 78 Rahmenverbreiterung 110mm (PR110)

Drutex Softline 78 Rahmenverbreiterung 140mm PR 78140 (PR140)

PR78140 - Softline 78 Rahmenverbreiterung 140mm (PR140)

Holzfenster Kopplungen

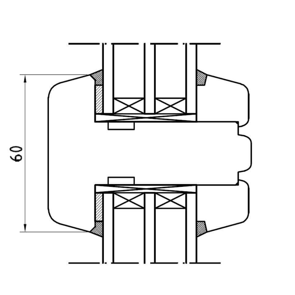
Drutex Softline 78 Holz Federkopplung

Holz - Federkopplung (Softline-78)

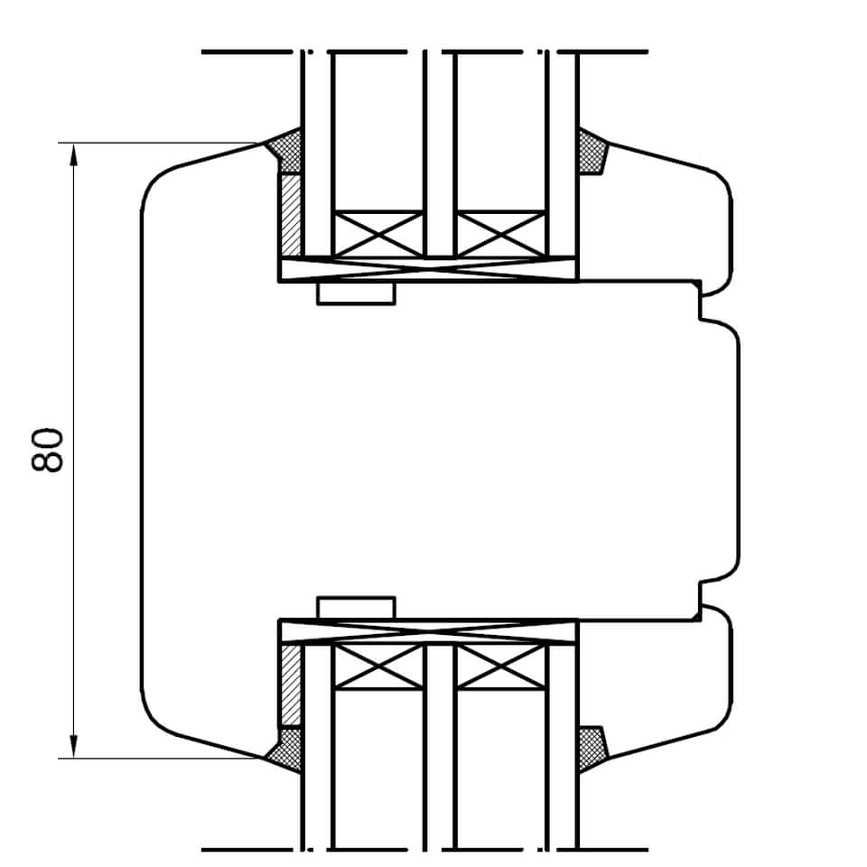
Drutex Softline 78 Statische Kopplung Pfosten PS 78038 (PS038)

PS78038 - Statische Kopplung (PS038)

Kopplung von Eck-Elementen - 90° und Variabel

Drutex Softline 78 Eckkopplung 90° Rahmen PP78090 (PP090)

PP78090 - Softline 78 Eckkopplung 90 Grad (PP090)

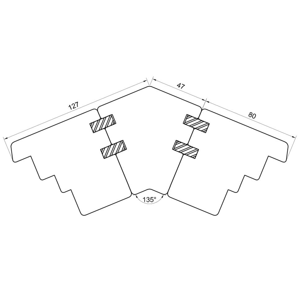
Drutex Softline 78 Eckkopplung 135° Rahmen PP78135 (PP135)

PP78135 - Softline 78 Eckkopplung 135 Grad (PP135)

Holz Abdeckleisten

Drutex Holz Abdeckleiste 20mm LM 020

LM 020 - Holz Abdeckleiste 20mm

Drutex Holz Abdeckleiste 50mm LM 050

LM 050 - Holz Abdeckleiste 50mm

Drutex Holz Abdeckleiste 80mm LM 080

LM 080 - Holz Abdeckleiste 80mm

Holz Abschlussleisten

Drutex Holz Abschlussleiste 20mm LW020

LW 020 - Holz Abschlussleisten 20mm

Drutex Holz Abschlussleiste 30mm LW030

LW 030 - Holz Abschlussleisten 30mm

Drutex Holz Abschlussleiste 40mm LW040

LW 040 - Holz Abschlussleisten 40mm

Drutex Holz Viertelstab LWR 015

LWR 015 - Holz Viertelstab

Holzfenster mit Aufsatzrollladen

Drutex Holz Rollladentraverse LT 120

LT 120 - Holz Aufsatzrollladen Rollladentraverse

Drutex Aufsatzrollladen Führungsschiene Holz PD110

PD 110 - Holz Aufsatzrollladen Führungsschiene

Drutex Aufsatzrollladen Führungsschiene Holz PD120

PD 1120 - Holz Aufsatzrollladen Führungsschiene

Aufsatzrollladen 225mm mit Softline 68 Profil für Holzfenster

Aufsatzrollladen 225mm mit Holzfensterprofil Softline 78

Kostenlose Lieferung

Ab einer Bestellung von 10 Fenstern deutschlandweit!

Jetzt Angebot für Holzfenster anfordern

Das könnte Sie auch interessieren:

Holzfenster Softline-68

Detailzeichnungen Holzfenster Softline-68

Holzfenster Softline-68 besitzen eine Bautiefe (Rahmen) von 68mm.

Holzfenster Softline-88

Detailzeichnungen Holzfenster Softline-88

Holzfenster Softline-88 besitzen eine Bautiefe (Rahmen) von 88mm.