Ratgeber: Haustür einstellen - Rollenband WALA WR richtig justieren

Was wird benötigt?

  • 4 mm Sechskantschlüssel
  • 5 mm Sechskantschlüssel
  • Schlitzschraubendreher
  • Maßband und Wasserwaage

Übersicht zur Regulierung von Rollentürband WALA WR

Alu-Haustür einstellen mit Türband WALA WR

Hochwertige Aluminiumtüren bieten einen umfassenden Schutz vor Energieverlust und Einbruch. Damit Funktionalität und Sicherheit Hand in Hand gehen, ist die richtige Einstellung der Tür notwendig. Zum einen nach der Montage der Haustür und zum anderen als regelmäßige Nachjustierung, um das Material an Gebrauchs- und Witterungseinflüsse anzupassen. In diesem Ratgeber beschreiben wir Ihnen kurz und knapp, was Sie dazu benötigen und welche Schraube zu welcher Einstellung führt.

Anleitung: Anpressdruck einstellen - Rollenband WALA WR

Haustür Wala WR Anpressdruck einstellen

Bestimmen Sie, wie fest der Flügel im Rahmen sitzt, um Zugluft zu vermeiden. Bei geöffnetem Flügel gelangen Sie problemlos an das mittlere Flügelbandteil. Hier werden zunächst die beiden Hauptschrauben (1) an allen Türbändern gelöst. Nutzen Sie einen 5 mm Sechskantschlüssel um die Einstellschraube (2) zur regulieren. Eine Rechtsdrehung zieht den Flügel enger an den Rahmen, eine Linksdrehung erhöht den Abstand. Wiederholen Sie den Vorgang an allen Türbändern und prüfen Sie anschließend die Funktionalität. Zuletzt können Sie die Hauptschrauben wieder festziehen.

Tipp vom Profi: Machen Sie vor der Justierung dem Papiertest, um Eng- oder Abstände genau lokalisieren zu können.

Anleitung: Vertikale Regulierung (Haustür-Höhe einstellen) - Rollenband WALA WR

Haustür Wala WR vertikal einstellen

Öffnen Sie für einen ungehinderten Zugang zu den Rollenbändern den Türflügel vollständig. Lösen Sie mit dem Sechskantschlüssel die vier Hauptschrauben (1) am oberen und unteren Rahmenbandteil von jedem Türband. Drehen Sie die obere Einstellschraube (2) überall heraus, nun kann sich die Adjustierung auf den Flügel übertragen. Die untere Einstellschraube (4) reguliert die Höhe des Flügels. Durch eine Drehung um 360° wird der Flügel um 1,25 mm angehoben bzw. abgesenkt. Nehmen Sie die Einstellung an allen Bändern möglichst gleichmäßig vor. Abschließend drehen Sie die entfernten Schrauben (2) wieder ein und ziehen die Hauptschrauben (1) fest.

Tipp vom Profi: Nutzen Sie bei sehr schweren Türflügeln Keile, um das Gewicht zu mindern.

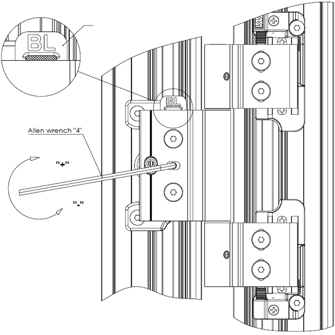
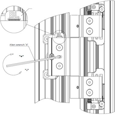
Anleitung: Horizontale Regulierung (Haustür seitlich einstellen) - Rollenband WALA WR

Haustür Wala WR horizontal regulieren

Um die Türbänder seitlich einzustellen, muss der Flügel zunächst geöffnet werden. Die Einstellschraube (1) befindet sich am mittleren Flügelbandteil. Setzen Sie dort den 4 mm Sechskantschlüssel an. Durch eine Drehung nach rechts wird der Abstand zum Rahmen erhöht, eine Drehung nach links reduziert ihn (bei linksseitigem Band). Eine 360° Drehung reguliert die Distanz um 1,25 mm. Wiederholen Sie den Vorgang bei allen Türbändern. Mit einer Wasserwaage können sie anschließend prüfen, ob der Flügel im Lot steht.

Tipp vom Profi: Kennzeichnen Sie vor Beginn der Einstellarbeiten die Lage des Flügels, so können Sie anhand der Markierungen die Türbänder präzise einstellen.

Das könnte Sie auch interessieren:

Haustürband WALA WX einstellen

Alu-Haustür einstellen mit Türband WALA WX

Erfahren Sie in unserem Ratgeber, wie Alu-Haustüren mit den Türbändern WALA WX eingestellt werden.

Haustürband WALA WX einstellen

Haustürband WALA AXL einstellen

Kunststoff-Haustür einstellen mit Türband WALA AXL

Erfahren Sie in unserem Ratgeber, wie Kunststoff-Haustüren mit den Türbändern WALA AXL eingestellt werden.

Haustürband WALA AXL einstellen